在线询价微信咨询
在线定制
欢迎进入海湾安全技术有限公司官网!
海湾消防设备销售、改造、维修

专业一站式消防解决方案提供商

4006-598-11915262554119
新乡接线安装技术
联系我们Contact us
全国咨询热线15262554119

海湾安全技术有限公司

公司地址:苏州市常熟市黄河路275号

联系电话:4006-598-119

公司邮箱:1334605518@qq.com

接线安装技术

新乡海湾GST-BF003M 型点型可燃气体探测器

作者: 发布时间:2024-11-23 14:34:04点击:2924

信息摘要:

特点  

海湾GST-BF003M型点型可燃气体探测器是一种安装在爆炸性危险环境的气体探测设备,它将现场的 可燃气体浓度转换成数字信号并传送到位于安全区的 GST 系列可燃气体报警控制器,以达到监测现 场可燃气体浓度的目的。本产品符合 GB 3836.1‐2010 爆炸性环境第 1 部分:设备通用要求 GB 3836.2‐2010 爆炸性环境第 2 部分:由隔爆外壳“d”保护的设备及 GB15322.1《可燃气体探测器第 1 部分:测量范围为 0~ LEL 的点型可燃气体探测器》等标准的要求。  

海湾GST-BF003M 型点型可燃气体探测器通过四芯电缆与处在安全区的 GST 系列可燃气体报警控制器 连接,其中两根线为 DC24V 电源线,另两根为总线。本探测器防爆标志为 ExdⅡCT6 Gb,适用于石 油、化工、机械、医药、储运等行业爆炸危险环境的 1 区和 2 区,不适用于 0 区及煤矿井下环境。 本探测器可用于室外环境。

主要技术指标  

(1) 工作电压:信号总线电压:总线 24V 允许范围:16V~28V  电源总线电压:DC24V 允许范围:DC12V~DC28V  

(2) 工作电流  信号总线监视电流≤2mA  信号总线报警电流≤3mA  电源总线电流≤40mA  

(3) 传感原理:催化燃烧  

(4) 取样方式:自然扩散  

(5) 检测范围:0~55%LEL  

(6) 线制:四线——两根 DC24V 电源线,两根为总线  

(7) 检测气体:天然气或液化石油气  

(8) 使用环境:温度:-40℃~+60℃  相对湿度≤95%,不结露  

(9) 外壳防护等级:IP63(安装专用传感器防护罩后可达到 IP65)  

(10) 防爆标志:Ex d IIC T6 Gb (11) 防爆合格证号:CE16.1463

结构特征、安装与布线  

海湾GST-BF003M 型点型可燃气体探测器外形示意图如图 1-87 所示,接线端子示意图如图 1-88 所示。

image.png

image.png

其中:  

Z1、Z2:接可燃气体报警控制器信号二总线,无极性  

D1、D2:DC24V 电源输入端子,无极性:探测器机壳保护地端子,可接屏蔽电缆屏蔽层

布线及安装要求:  

海湾GST-BF003M型点型可燃气体探测器安装方式有两种,一种是安装到钢管上,另一种是安装到墙 上。当被探测气体比空气重时,探测器应安装在低处;反之,则应安装在高处。在室外安装时应加 装防雨罩,防止雨水溅湿探测器。  

(1) 钢管安装利用安装附件、两个φ6弹垫、两个φ6平垫和两个M6螺母将探测器安装到钢管上,钢管适用直 径为φ38~φ60,安装方式见图1-89。

image.png

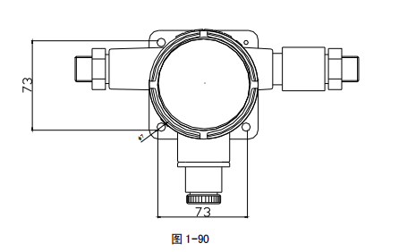
(2) 墙上安装利用三个 M660 的膨胀螺栓将探测器安装到墙上,安装尺寸见图 1-90。

image.png

GST-BF003M点型可燃气体探测器必须与GST系列可燃气体报警控制器相连构成可燃气体监测报 警系统,连接探测器和GST系列可燃气体报警控制器的电缆应使用耐火铜芯多股导线的电缆,在1区 和2区,线芯截面均应不小于1.0mm2 ,电缆外径为8mm~10mm,所用电缆还应符合使用环境的其他 要求,如耐热、耐腐蚀、防火等,在危险场所,电缆线需用金属管或塑料管做外防护管。无特殊要 求时,可使用RVVP41.0,外径为10mm的屏蔽电缆。线路走向等都应符合相应爆炸危险环境的要求。 

电缆线路在爆炸危险环境中严禁有中间接头,在特殊情况下,电缆线必须安设中间接头时,只允许 在2区内采用相应的防爆接线盒(BHD51-3/4B型)加以保护,方可进行中间连接。  

确认本探测器是否需要串联使用,如是串联使用须双向接线时,将电缆线按以上方法从探测器 另一端接入并按相同方法旋紧各部件;如本探测器不需要串联双向接线时,线缆只能从探测器左侧 穿入探测器内部进行接线,探测器右侧接线端必须用防爆堵头(备附件)旋牢。

系统应用  

海湾GST-BF003M点型可燃气体探测器可以和海湾公司的可燃气体报警控制器配接构成可燃气体报警 监控系统,控制器可以为探测器提供DC24V电源。控制器必须放置在安全区。具体接线方法如图1-91 所示。

image.png

本文标签:
在线客服
联系方式

热线电话

15262554119

上班时间

周一到周五

公司电话

4006-598-119

二维码
线