在线询价微信咨询
在线定制
欢迎进入海湾安全技术有限公司官网!
海湾消防设备销售、改造、维修

专业一站式消防解决方案提供商

4006-598-11915262554119
新乡接线安装技术
联系我们Contact us
全国咨询热线15262554119

海湾安全技术有限公司

公司地址:苏州市常熟市黄河路275号

联系电话:4006-598-119

公司邮箱:1334605518@qq.com

接线安装技术

新乡海湾JTY-GF-GST104(Ex)/T 点型光电感烟火灾探测器安装参数

作者: 发布时间:2024-11-07 14:14:40点击:2664

信息摘要:

特点  

   海湾JTY-GF-GST104(Ex)/T点型光电感烟火灾探测器利用红外散射技术,采用进口光电器件,提 高了传感器的可靠性、稳定性和一致性,并采用独特的迷宫设计,防虫、防尘、抗外界光线干扰性 能良好。产品结构新颖、外型美观、性能稳定可靠、抗潮湿性强,并具有良好的抗化学腐蚀性。本 探测器防爆类型为本质安全型,防爆标志为ExibIICT6 Gb,适用于石油、化工等行业具有防爆要求的1区及2区使用,同时本探测器还抗磷化铝、盐雾、二氧化硫腐蚀,适用于仓库、厂房及其它有磷 化铝、盐雾、二氧化硫腐蚀环境的场所。本探测器为非编码型,与GST-LD-8332模块箱配合使用,可接入本公司生产的各类火灾报警控制器,完成对探测器信号的处理。

  该产品符合GB3836.1-2010《爆炸性环境 第1部分:通用要求》和GB3836.2-2010《爆炸性环境  第4部分:由本质安全型“i”保护的设备》的有关规定。


主要技术指标  

(1) 工作电压:DC16V~DC28V  

(2) 静态电流≤150μA (注:静态时探测器可工作在 DC16V~DC28V 电压范围内)  

(3) 报警电流≤30mA  

(4) 安全栅参数:U0=28V,I0=93mA  

(5) 防爆标志:ExibIICT6 Gb  

(6) 报警确认灯:红色,正常时闪亮,报警时常亮  

(7) 使用环境:温度:-10℃~+55℃ 相对湿度≤95%,不结露  大气压力:86kPa~106kPa  

(8) 外壳防护等级:IP23  

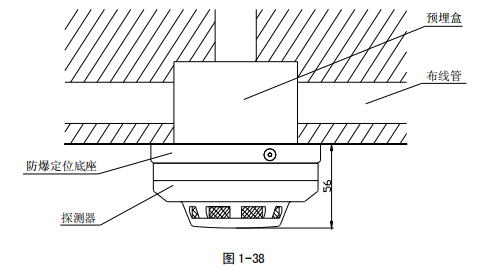
(9) 探测器尺寸:直径:100mm ,高:56mm(带底座)


保护面积

  当空间高度为 6m~12m,一个探测器的保护面积,对一般保护现场而言为 80m2 。空间高度为 6m 以下时,保护面积为 60m2 。具体参数应以《火灾自动报警系统设计规范》(GB 50116)为准。


结构特征、安装与布线

探测器的外形结构示意图如图 1-37 所示:

image.png

探测器安装方式如图 1-38 所示:

image.png

接线盒可采用 86H50 型标准预埋盒,其结构尺寸外形示意图如图 1-39 所示:

image.png

   本探测器采用 DZ-03(Ex)本安型定位底座安装,探测器与底座之间有定位卡口,使探测器具 有 的安装位置,本安型定位底座所用材料具有防静电功能。底座示意图如图 1-40:

image.png


本安型定位底座上有四个带数字标识的接线端子,“1”为正极输入,“2”为正极输出,“3”为 电源负极,“4”不接线,用来辅助固定探测器。探测器与本安型定位底座上有定位卡口,使探测器 具有 的安装位置。本安型定位底座 A、B 处有两个凸棱,探测器底部侧面 C 处有一个凸棱。装配 时,将探测器凸棱 C 对准本安型定位底座 A 处,顺时针旋转至 B 处即可安装好探测器。底座上有 4 个导体片,片上带接线端子,底座采用串联方式连接,回路末端应接一只 4.7k终端电阻。  

布线要求:电缆均选用截面积≥1.0mm2 的本安电缆,且电缆间分布电容不得大于 0.083F,分 布电感不得大于 4.0mH。

为避免接线混乱,应采用不同颜色的线进行区别;接线与探测器底座端子 连接处应做密封处理(无裸露铜线)。 具体接线见 章 5.4 节 GST-LD-8332 模块箱接线说明。


本文标签:
在线客服
联系方式

热线电话

15262554119

上班时间

周一到周五

公司电话

4006-598-119

二维码
线